Top.Mail.Ru
Москва
Пункт самовывоза: Тюмень, Ялуторовский тракт 11 км, дом 5, стр. 5
Зелёный свет
вашей клинике

GreenMED DT-703 — Портативная стоматологическая рентгеновская система

GreenMED DT-703 — Портативная стоматологическая рентгеновская система
GreenMED DT-703 — Портативная стоматологическая рентгеновская система
224 100 ₽
-0%
224 100 ₽
224 100 ₽
-0%
224 100 ₽

Состав:

  1. Портативный рентген аппарат DT-703

  2. Аккумулятор

  3. Зарядное устройство для аккумулятора

  4. Подставка 

  5. Ремешок наручный (поставляется при необходимости)

  6. Инструкция по эксплуатации.


Поставляется опционально за отдельную плату: 
  1. Пульт дистанционного управления (опция)

  2. Экран защитный (опция)

  3. Коллиматор прямоугольный (2*3) (опция)

  4. Коллиматор прямоугольный (3*4) (опция)

Производитель
Страна
Южная Корея;
Гарантия, мес.
12;
Способы оплаты
Доставка
Учавствует в акции
Описание

8 (1).jpg

 9 (1).jpg   НОВЫЙ УРОВЕНЬ РЕНТГЕНОГРАФИИ

Простой в использовании и функциональный, рентгеновский аппарат Гринмед DT-703 способен вывести диагностику на абсолютно новый, максимально комфортный для каждого участника исследования, уровень.
       
ЛЁГКИЙ ВЕС 

Это самый лёгкий портативный рентген-аппарат на рынке стоматологического оборудования. Его небольшие габариты и вес (всего 1,5 кг) обеспечивают оптимальные условия для позиционирования, а наручный ремешок повышает комфорт и безопасность во время работы.
   10 (1).jpg
       
 11 (1).jpg       ВЫСОКОЕ РАЗРЕШЕНИЕ СНИМКОВ 

Благодаря небольшому размеру фокального пятна (всего 0,3 мм) изображение формируется с максимальной разрешающей способностью, высокой резкостью и чёткостью, исключая размытость контуров снимков.
       
ИСКЛЮЧИТЕЛЬНОЕ КАЧЕСТВО

Качество снимков находится на высоте, благодаря совершенным технологиям. Защита от обратного рассеивания обеспечивает получение снимков без искусственных засветов, артефактов движения и нежелательных теней, увеличивая чёткость изображения.
   17 (1).jpg
       
 12 (1).jpg   УМНЫЙ ДИСПЛЕЙ

Понятный интерфейс предусматривает включение большинства функций на одной панели, а пульт дистанционного управления (доп. опция) позволяет обследовать пациента даже на расстоянии.
       
ДО 300 ИССЛЕДОВАНИЙ БЕЗ ПЕРЕЗАРЯДКИ

Аккумулятор большой ёмкости позволяет провести до 300 исследований прежде чем понадобится перезарядка с помощью специальной беспроводной подставки.
   13 (1).jpg
       
 16 (1).jpg   НЕСКОЛЬКО ВАРИАНТОВ ПОЛУЧЕНИЯ ДАННЫХ

Портативный рентген может выводить полученные изображения на плёнку или цифровой носитель (визиограф), обеспечивая комфортное получение данных диагностики под любой запрос.
       
НИЧЕГО ЛИШНЕГО

GreenMED DT-703 максимально экономит время, имеет низкую лучевую нагрузку и может работать от перезаряжаемого аккумулятора, избавляя рабочее пространство от лишних проводов.
   14.jpg

ЗАЩИТА И БЕЗОПАСНОСТЬ

Особая конструкция аппарата в сравнении с обычными портативными рентгенами позволяет значительно снизить дозу облучения оператора. Внешний защитный экран обеспечивает дополнительную безопасность врача, исключая вероятность получения отражённого излучения в процессе работы.

15.jpg

ВЕЛИКОЛЕПНЫЕ ХАРАКТЕРИСТИКИ

DT-703 – это интраоральная портативная рентгеновская система, которая обладает высокой безопасностью, надёжностью, и великолепными функциональными характеристиками:

  • Небольшой вес и эргономичный дизайн

  • Беспроводное электропитание от аккумулятора

  • Микрокомпьютер и специализированная программа с ЖК дисплеем и семисегментными индикаторами точно регулируют параметры экспозиции (кВ, мА и время)

  • Запрограммированные значения времени экспозиции обеспечивают быстроту и удобство выполнения операций

  • Предотвращение отказов устройства за счёт применения технологии определения времени охлаждения.


   НАИМЕНОВАНИЕ  ОПИСАНИЕ 
 1  Экран для защиты от обратного рассеяния рентгеновского излучения   Защищает от обратного рассеяния рентгеновского излучения
 2  Ограничитель пучка рентгеновских лучей  Ограничивает площадь рентгеновской экспозиции (Поле зрения: Ø 60 мм)  
 3  Кнопка рентгеновской экспозиции  Нажмите кнопку для запуска рентгеновской экспозиции   
 4  Ручка устройства   Крепко держите устройство за ручку при использовании    
 5  Аккумулятор  Литий-ионный полимерный перезаряжаемый аккумулятор
 6  Выключатель питания  Выключатель электропитания Вкл/Выкл
 7  Порт дистанционного выключателя экспозиции   Подсоедините кабель дистанционного выключателя экспозиции (и может использоваться как сервисный порт)
 8  Крепление для ремешка   Прикрепите ремешок
 9  Панель управления   Отображение настроек рентгеновской экспозиции и рабочих условий 
 10  Рентгеновский генератор  Включает моноблок (рентгеновская трубка + высоковольтный генератор)
 11  Ремешок  Ремешок на запястье

DT703-2.jpg

   НАИМЕНОВАНИЕ  ОПИСАНИЕ
 1  Выбор режима приёмника  Выберите режим приёмника: DR, CR, плёнка 
 2  Зарядка и уровень зарядка аккумулятора  Показывает выполнение зарядки аккумулятора и оставшийся уровень заряда аккумулятора 
 3  Индикатор готовности генерации рентгеновского излучения   Показывает статус готовности к генерации рентгеновского излучения 
 4  Индикатор рентгеновской экспозиции Показывает выполнение рентгеновской экспозиции
 5  Время рентгеновской экспозиции
  • Показывает время рентгеновской экспозиции
  • Показывает код ошибки и предупреждения, время охлаждения, низкий заряд аккумулятора и т.д.
 6  Выбор категории пациента  Выберите взрослый (большой размер), взрослый (обычный размер) или ребёнок
 7  Выбор типа зуба  Выбор типа зуба (резец, клык, моляр/премоляр или интерпроксимальная рентгенография)   
 8  Кнопка ввода  Ввод   
 9  Кнопки «влево» и «вправо» для регулировки и навигации   Перемещение влево или вправо для выбора меню (или режима)
 10  Индикатор блокировки кнопки экспозиции  Показывает, что кнопка рентгеновской экспозиции заблокирована   
 11  Индикатор настроек параметров пользователя  Показывает, что пользователь вошёл в меню настроек параметров пользователя   

ТЕХНИЧЕСКИЕ ХАРАКТЕРИСТИКИ

 Характеристика  DT-703 
 Технические характеристики портативной стоматологической рентгеновской системы GREENMED (DT-703)     
 Напряжение трубки [кВт]    70 кВ (постоянное)
 Ток трубки     3 мА (постоянный)
 Время экспозиции [с]  0,02 – 0,5 сек
 Макс. отклонение напряжения, кВ  - 5%
 Макс. отклонение силы тока, мА  ± 5%
 Система охлаждения  Термистор ≥ 60 °С
 Рентгеновская трубка  Наименование модели  OX/70-3 (C.E.I)
 Фокальное пятно  0,3 мм
 Угол мишени  13°
 Тёплоёмкость анода  7 кДж
 Собственная фильтрация  Алюминий, 0,5 мм
 Поле облучения рентгеновскими лучами  Расстояние от источника до приёмника изображения (SID) 200 мм
 Общая фильтрация   Алюминий, 1,5 мм
 Вес   1,5 кг (±10%)
 Таблица времени охлаждения    
 Время охлаждения в соответствии с количеством экспозиций   Макс. 60 сек
 Характеристики электропитания
 Электропитание                      Тип аккумулятора  Литий-полимерный   
 Напряжение аккумулятора [В пост. тока]  Нормальное: 24,2 В
 Макс.: 25,2 В
 Мин.: 22,2 В
 Сила тока аккумулятора [А]     20 А (макс.)
 Способ зарядки  С использованием подставки и зарядного устройства 
 Макс. напряжение зарядного устройства аккумулятора [В пост. тока]  25,4 В
 Сила тока зарядного устройства аккумулятора [А]  0,9 А
 Технические характеристики зарядного устройства аккумулятора
 Номинальные параметры  На входе: 100 – 240 В~, 50/60 Гц, 0,4 А
 На выходе: 25,4 В пост. тока, 0,9 А
 Частота  50 – 60 Гц
 Стандарт     IEC 60950-1 (UL)
 Технические характеристики коллиматоров  
 Диаметр  74 мм (±10%)
 Толщина  8 мм (±10%)
 Поле обзора (FOV)    Коллиматор 2*3  2х3 см
 Коллиматор 3*4  3х4 см
 Вес    Коллиматор 2*3  24 г (±10%)
 Коллиматор 3*4
 22 г (±10%)
 Технические характеристики пульта ДУ
 Длина провода пульта  Растянутый: 308 см (±10%)
 Не растянутый: 83 см (±10%)
 Длина пульта  10 см (±10%)
 Вес пульта  166 г (±10%)
 Вес провода с пультом   51 г (±10%)
 Разъём  Тип С (C-Type)
 Условия эксплуатации 
 Диапазон температуры   10 °С – 40 °С (50 °F – 104 °F)
 Диапазон относительной влажности   30% – 75%
 Относительное атмосферное давление   860 – 1060 гПа
 Условия хранения и транспортирования 
 Диапазон температуры  -10 °С – 60 °С (14°F – 140 °F)
 Диапазон относительной влажности   10% – 75% (без конденсации)
 Относительное атмосферное давление  
 500 – 1100 гПа

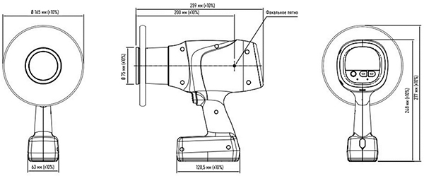
Размеры основного блока (мм): 259 (Д) x 277 (В) x Ø 165 (±10%)

DT703-3.jpg

Размеры подставки (мм): 186 (Д) х 55 (В) х 99 (Ш) (±10%)

DT703-4.jpg

Размеры коллиматоров:

DT703-5.jpg

DT703-6.jpg

Характеристики
Производитель
Страна
Южная Корея;
Гарантия, мес.
12;
Отзывы

Состав:

  1. Портативный рентген аппарат DT-703

  2. Аккумулятор

  3. Зарядное устройство для аккумулятора

  4. Подставка 

  5. Ремешок наручный (поставляется при необходимости)

  6. Инструкция по эксплуатации.


Поставляется опционально за отдельную плату: 
  1. Пульт дистанционного управления (опция)

  2. Экран защитный (опция)

  3. Коллиматор прямоугольный (2*3) (опция)

  4. Коллиматор прямоугольный (3*4) (опция)



Нужна консультация?
Подробно расскажем о продукции и услугах, подберем оптимальный вариант и предложим лучшие цены!
В связи с резкими колебаниями курсов валют окончательные цены на интересующие позиции просим уточнять у менеджеров компании. x